電話:0577-66996885
傳真:0577-66995778
手機:13353386068
Q Q:2219968630
網址:www.talorbrand.com
地址:浙江省永嘉縣甌北鎮三橋工業區
【S型玻璃鋼離心泵】產品:
【S型玻璃鋼離心泵】產品簡介:
S型、FS型、SL型、SY型、WSY型、FSY型系列玻璃鋼泵,其接觸液體的過流部件均采用聚乙烯醇縮丁醛、改性酚醛玻璃纖維材料經高溫模壓而成,具有良好的耐腐蝕,耐溫性能高、重量輕、比強度高、不變形等。軸封采用普通型和耐顆粒型機封二種(液下泵不用機械密封)結構合理,消耗功率少。
【S型玻璃鋼離心泵】型號意義:
【S型玻璃鋼離心泵】性能范圍:
流量:3.2~50m3/h,揚程:12.5~32m,轉數:2900r/min,功率:0.75~7.5KW,口徑:25~80mm,使用溫度:<100℃
【S型玻璃鋼離心泵】選材依據:
普通鋼鐵、不銹鋼、鋁和鉛等裳用工程材料在鹽酸中腐蝕嚴重,都不適用。大多塑料對鹽酸都有優良的耐蝕性。一類塑料能耐一切濃度和沸點下的鹽酸,如酚醛、呋喃、聚三氟氯乙烯、聚四氟乙烯、聚全氟乙烯、聚偏二氟乙烯等。
酚醛樹脂(玻璃鋼)制品對非氧化性酸(鹽酸、稀硫酸、磷酸等)、鹽類溶液、水都有良好的耐蝕性,不耐堿和氧化性酸(硝酸、鉻酸等)的腐蝕。
【S型玻璃鋼離心泵】使用范圍:
S型玻璃鋼離心泵主要用于石化、冶煉、染料、印染、農藥、制藥、稀土、皮革等行業,輸送不含固體顆粒、不易結晶、溫度不高于100℃的各種非氧化性酸(鹽酸、稀硫酸、甲酸、醋酸、丁酸)等腐蝕介質必不可少的理想設備。
【S型玻璃鋼離心泵】性能參數:
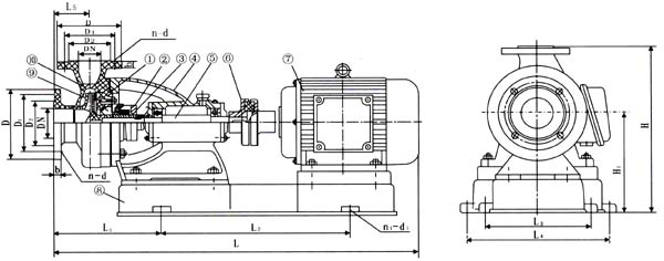
【S型玻璃鋼離心泵】結構圖及外形尺寸:
S25×25-12.5至S50×40-20外形尺寸
S50×32-32至S100×80-50外形尺寸
|
1 |
泵蓋 |
|
|
2 |
機械密封 |
|
|
3 |
軸套 |
|
|
4 |
聯結架 |
|
|
5 |
軸 |
|
|
6 |
聯軸器 |
|
|
7 |
電機 |
|
|
8 |
底座 |
|
|
9 |
葉輪 |
|
|
10 |
泵體 |
【S型玻璃鋼離心泵】使用注意事項:
1、本泵在安裝前根據選定泵型,按外形及安裝尺寸做好地腳基礎,安裝時根據管路位置的要求,盡量使安裝的位置便利管理和維修。
2、安裝的位置如果高于液面,必須附裝灌液裝置。
3、泵起動前先將液體灌滿泵體后開車,嚴禁無介質運轉和倒轉,否則泵體內因缺泛液體冷卻而損壞機械密封。
4、停車時應關閉液管閥門,避免液體倒流。
5、維修時,先拆下泵體,再松開機械密封螺釘,拆下機械密封。
6、如果更換滾珠軸承或泵軸時,必須拆下機架,松開前端軸承蓋4只螺釘。拆下泵軸后端螺母和聯軸器,將泵軸向前端方向打出即可,再后拆下后端軸封蓋。
聲明:由于產品一直在更新,本文中所有文字、數據、圖片均只適用于參考,S型玻璃鋼離心泵性能參數、S型玻璃鋼離心泵使用場合、S型玻璃鋼離心泵材質要求、S型玻璃鋼離心泵結構、S型玻璃鋼離心泵安裝尺寸以及S型玻璃鋼離心泵的價格等詳情,請聯系我們的營銷部,電話:0577-66996885、66996886,感謝您訪問海坦泵業網站【http://www.talorbrand.com/】,我們一定會盡心盡力為您提供優質的服務。
相關化工泵系列產品:
ZA系列石油化工流程泵,FB、AFB型不銹鋼耐腐蝕離心泵,GBL型濃硫酸管道泵,GBW型臥式濃硫酸離心泵,GBY型濃硫酸液下泵,FYS型耐腐蝕液下泵,FY系列不銹鋼液下泵,SY型、FSY型、WSY型玻璃鋼液下泵,PF(FS)型強耐腐蝕聚丙烯離心泵,GBF型襯氟塑料管道泵,IHF型襯氟塑料離心泵,SL型玻璃鋼管道泵,FS型玻璃鋼離心泵,S型玻璃鋼離心泵,FSB型氟塑料合金離心泵,IH型不銹鋼化工離心泵。

